上海恒點傳動設備有限公司
加微信聯系 恒點減速機QQ2:51228482
[HTML] [XML]  産品展示産品展示-RSS  新聞中心新聞中心-RSS  技術支持技術支持-RSS
産品分類: 減速機蝸輪絲杆升降機轉向箱蝸輪蝸杆減速機齒輪減速機行星齒輪減速機擺線針輪減速機無級變速機大功率減速器
上海恒點傳動設備有限公司
資訊分類
和産品相關的技術文章
當前位置:網站首頁 > 技術支持 > 聯軸器術語撓性聯軸器(一)(GB/T 3931-1997)

聯軸器術語撓性聯軸器(一)(GB/T 3931-1997)

Tags: R系列斜齒輪硬齒面減速機    發布時間: 2015-01-07
3.2 撓性聯軸器
能補(bǔ)償(cháng)兩軸相對位移的聯軸器。
3.2.1.1 萬(wàn)向聯(lián)軸器
允許在較大角位移時傳(chuán)遞(dì)轉矩的聯軸器。
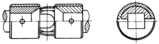
3.2.1.1.1 十字軸式萬(wàn)向聯(lián)軸器
利用十字軸式中間(jiān)件,以實現不同軸線間(jiān)兩軸聯接的萬向聯軸器,見(jiàn)圖6。
聯軸器術語撓性聯軸器
圖6
3.2.1.1.2 球籠(lóng)式萬向聯(lián)軸器
利用若幹(gàn)鋼球置於(yú)分别與兩軸聯接的内外星輪槽内,以實現不同軸線間兩軸聯接的萬向聯軸器,見圖7。
聯軸器術語撓性聯軸器
圖7
3.2.1.1.3 球鉸(jiǎo)式萬向聯(lián)軸器
利用球鉸式的中間(jiān)件 ,以實現不同軸線間(jiān)兩軸聯接萬向聯軸器,見(jiàn)圖8。
聯軸器術語撓性聯軸器
圖8
3.2.1.1.4 球鉸(jiǎo)柱塞式萬向聯(lián)軸器
利用球鉸和柱塞式組合的中間(jiān)件,以實現不同軸線間(jiān)兩軸聯接的萬向聯軸器,見(jiàn)圖9。
聯軸器術語撓性聯軸器
圖9
3.2.1.1.5 三叉杆式萬(wàn)向聯(lián)軸器
利用三叉杆和柱塞式組合的中間(jiān)件,以實現不同軸線間(jiān)兩軸聯接的萬向聯軸器,見(jiàn)圖10。
聯軸器術語撓性聯軸器
圖10
3.2.1.1.6 球叉式萬(wàn)向聯(lián)軸器
利用若幹(gàn)鋼球置於(yú)兩個球叉組成的中間件 ,以實現不同軸線間兩軸聯接的萬向聯軸器,見圖11。
聯軸器術語撓性聯軸器
圖11
3.2.1.1.7 凸塊(kuài)式萬向聯(lián)軸器
利用兩個(gè)凸塊叉和兩個(gè)中間(jiān)凹塊組成的中間(jiān)件,以實現不同軸線間(jiān)兩軸聯接的萬向聯軸器,見圖
12。
聯軸器術語撓性聯軸器
圖12
3.2.1.1.8 三球銷式萬(wàn)向聯(lián)軸器
利用在同一平内通過(guò)三個(gè)徑向均勻分布的裝有球環的三銷架,将殼體與軸聯接的中間件,以實現不同軸線間兩軸聯接的萬向聯軸器,見圖13。
聯軸器術語撓性聯軸器
圖13
3.2.1.1.9 三銷式萬(wàn)向聯(lián)軸器
利用兩個(gè)三銷軸與兩個(gè)偏心軸叉組成的中間(jiān)件,以實現不同軸線間(jiān)兩軸聯接的萬向聯軸器,見圖14。
聯軸器術語撓性聯軸器
圖14
3.2.1.1.10 球銷式萬(wàn)向聯(lián)軸器
利用由一根兩端軸頸上裝有球環(huán)的銷軸,将雙柱槽殼與球頭軸聯接起來的中間(jiān)件,以實現不同軸線間(jiān)兩軸聯接的萬向聯軸器,見圖15。
聯軸器術語撓性聯軸器
圖15
上一篇 上一篇: 聯軸器術語剛性聯軸器(GB/T 3931-1997)
下一篇 下一篇: 聯軸器術語撓性聯軸器(二)(GB/T 3931-1997)
相關新聞文章 > 查看更多
齒輪不能少於17個齒數嗎?少瞭會怎樣? 2026-01-19
使用經濟型數控車床的技巧 2025-12-16
變頻器的使用中遇到的問題和故障防範 2025-11-25
三角形展開的原理是什麽 2025-10-31
電機如何拆卸 2025-08-26
減速機出力太小出現的斷軸問題 2025-08-06
如何成功制造注塑齒輪 2025-07-01
齒輪氣體滲碳熱處理工藝及其質量控制(JB/T7516-94) 2025-05-26
錐齒輪承載能力計算方法第1部分 :概述和通用影響系數外部作用力與使用系數KA(GB/T10062.1-2003) 2025-04-28
錐齒輪檢測方法 2025-02-25
滾動軸承按用途主要可分爲哪幾類? 2025-01-21
什麽是高溫軸承? 2024-12-05
返回頂部 關閉本頁】 【打印本頁
電 話:021-22815912  021-22816186  傳 真:021-32050712   郵箱:sales@021jsj.cn  減速機 絲杆升降機 轉向箱 蝸輪蝸杆減速機
Copyright©2009-2026上海恒點傳動設備有限公司 版權所有  地址:上海市金山區亭林鎮林寶路39号  郵編:200442  滬ICP備10206998号-2 
友情鏈接機械設備網 | 渦街流量計 | 輸送機 | 變頻控制櫃 | 破碎機 | 工業同城 | 手持終端 | 柴油發電機 | uv平闆打印機 | 風淋室 | QUV | 防火門 | 九愛圖紙 | 感應加熱設備 | 輸送帶廠家 | 噪聲治理 | 西門子plc | 拖鏈電纜 | AGV | 機械雜志 | 現代機械 | UWB高精度定位 |